OA办公
1. 工作日志
用于管理视瀚全公司的工作日志,记录每日工作内容,需要协调的工作,明日计划等。
- 1 新增工作日志
点击“新增”,填写今日工作内容,需要协调的工作和明日计划,完成新增日志。点击提交,上传系统;点击暂存,存为草稿状态。
对于草稿状态的工作日志,支持修改和删除操作。
对于已提交的工作日志,支持删除操作。

- 2 查看工作日志
点击“详情‘,查看工作日志的详细信息。


- 3 查询日志信息
支持根据标题,提交人,日志状态,提交日期范围和所属公司进行查询。
2. 系统公告
用于在系统内发送消息通知,管理和维护历史通知信息。

- 1 显示内容
显示历史所有系统公告,内容包括序号、标题、创建时间、发布人员、发布时间、状态、操作。
- 2 新建
点击新建按钮,可以新建公告信息,输入对应的表单内容后,点击确认,会生成一条草稿状态的公告信息。

- 3 编辑
还未发布的公告,可以进行编辑操作。点击编辑按钮,可以对公告表单内容进行修改,修改完成后点击保存,即可修改成功。
- 4 发布
确认无误的公告内容,可以进行发布操作。点击发布后,公告中填写的所有相关人员都会受到企微通知和系统内的消息通知。
- 5 删除
公告支持删除操作,点击删除按钮并进行二次确认后,即可删除该条公告。
- 6 查看
点击更多-详情按钮,可以查看公告详情信息。
- 7 预览
点击更过-预览按钮,可以查看公告发布后的公告展示界面。如下图所示。

3. 发起申请
用户针对需要审批的流程,在此处发起流程申请。

- 1 显示内容
显示所有模块对应的审批流程入口。售前支持模块包括售前支持申请流程、招投标申请流程。销售管理模块包括试点推广项目申请、销售合同变更、销售合同作废、销售线索新增、新增中间商、分子公司往来合同、销售发票申请、商机报备、销售合同申请。客户管理包括需求管理、变更项目经理、新增客户。人事管理包括人力签呈、转正申请、转岗申请、离职申请、入职申请、调薪调级、人力专项、福利方案核销、福利方案借款、福利申请、增补编制。党委管理包括党支部印章、党支部决议。资产管理包括资产领用调拨单。采购管理包括采购合同中止、采购合同终止、采购合同作废、关闭采购申请、采购合同变更、采购发票申请、采购申请、采购付款复核、采购付款申请、采购合同、供应商新增、供应商评价、供应商变更。财务管理包括资金调拨、财务证章、财务签呈、资金调拨。行政管理包括行政签呈、印章证件、工会事项、办公用品、办公用品汇总、办公用品报销。项目管理包括项目移交售后申请、项目验收申请、项目开工申请。
- 2 发起申请
用户可以根据自己的需求,在此发起对应的申请流程。点击对应菜单入口,进入申请填写的表单页面,填写完成后,点击提交,即可进入审批流程。点击暂存后存为草稿状态,可以进行修改删除操作。
4. 我的申请
我的申请页面展示所有个人发起的申请信息,并对信息进行管理和维护。

- 1 显示内容
列表显示所有个人的申请信息,包括序号、流程标题、所属流程、发起时间、审批节点、紧急程度、流程状态、流程进度、操作。筛选项包括关键词、日期、所属分类、所属流程、流程状态。
- 2 编辑申请
等待提交的申请和流程驳回的申请可以进行编辑操作。点击列表后的编辑按钮,可以对申请表单内容进行修改,修改完成后点击提交,即可重新进入审批流程。点击暂存可保存当前内容,并再次进行修改操作。
- 3 删除申请
等待提交的申请可以进行删除操作,点击删除按钮,进行二次确认后即可删除成功。
- 4 查看申请
点击申请列表后的详情按钮,即可进入申请详情页面查看申请详细信息。
- 5 查询申请
可以根据关键词、日期、所属分类、所属流程、流程状态查询筛选框对应的申请内容。·
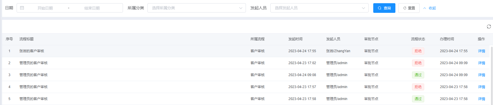
5. 待办事宜
用于展示需要个人审批的流程内容。如图所示。

- 1 显示内容
显示流程标题、所属流程、发起时间、发起人员和流程状态。
- 2 审批
点击审批,查看客户的表单信息、流程信息和流转记录,点击通过,通过该流程审批;点击驳回,驳回该流程审批;点击暂存,可将审批信息暂存在此页面。

- 3 查询
根据日期、所属分类和发起人员查询审核。
6. 已办事宜
用于展示用户已审批的流程内容。

- 1 显示内容
显示流程标题、所属流程、发起时间、发起人员、审批节点。
- 2 详情
点击详情,查看审批内容的表单信息、流程信息和流转记录,

- 3 查询
根据日期、所属分类和发起人员查询审核。
7. 抄送事宜
显示审批流程中所有抄送自己的申请内容。

- 1 显示内容
显示流程标题、所属流程、发起时间、发起人员、抄送节点、紧急程度、流程状态和抄送时间。
- 2 查看详情
点击流程标题或详情按钮,可以查看该审批的详细内容。
- 3 查找审批
可以根据关键词、日期、所属分类、所属流程、发起人员查询筛选项对应审批流程。
8. 会议管理
8.1 会议预定
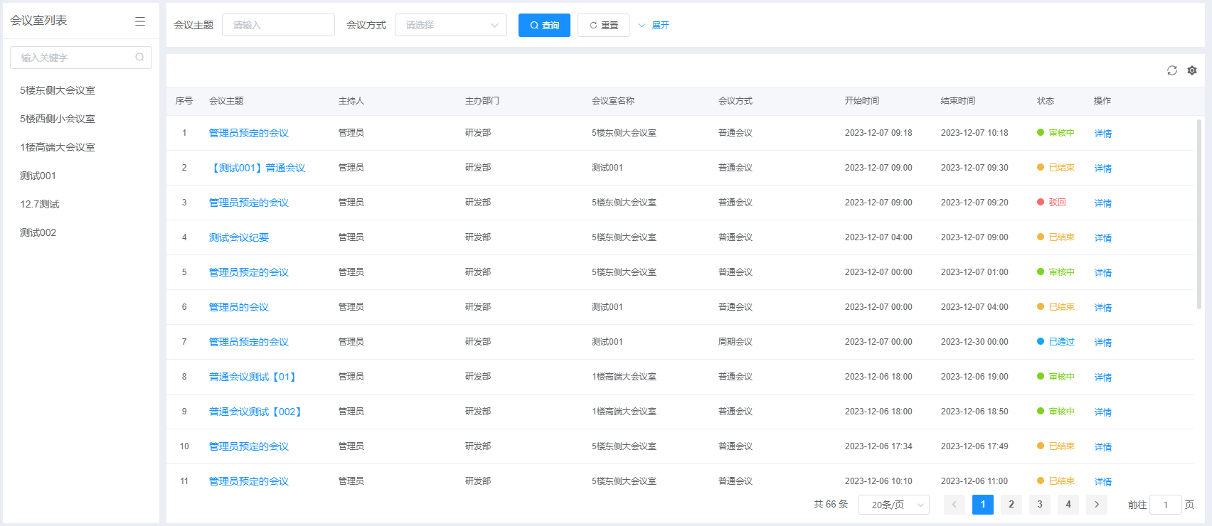
查看会议室的基本信息,根据需要,预定普通会议或周期会议。

- 1.1 列表显示信息
根据会议室分类,列表区域显示序号、会议主题、主持人、主办部门、会议室名称、会议方式、开始时间、结束时间和状态。如图 3所示。
- 1.2 新建普通会议
对于只进行一次的普通会议,点击新建会议,通过填写会议主题、会议内容和联系方式,选择会议类型、主持人、主办部门、联系人、会议室名称、参会人员、会议纪要员、日期范围、资源准备和提醒时间,上传相关附件,完成创建普通会议,点击暂存,存为草稿状态;点击保存,发出会议申请。
在会议进行前根据设置的提醒时间,提醒参会人员参与会议,可多次提醒;在会议结束后,提醒会议纪要员上传会议纪要。

- 1.3 新建周期会议
对于需要周期性进行的会议,点击周期会议,通过填写会议主题、会议内容和联系方式,选择会议类型、主持人、主办部门、联系人、会议室名称、参会人员、会议纪要员、日期范围、资源准备、重复模式、时间范围和提醒时间,上传相关附件,完成创建周期会议,点击暂存,存为草稿状态;点击保存,发出会议申请。
在会议前,根据设置的提醒时间,提醒参会人员参与会议,可多次提醒;在会议结束后,提醒会议纪要员上传会议纪要。
重复模式可选择月例会、周例会和日例会,选择月例会,选择具体几号进行会议;选择周例会,选择每周几进行例会;选择日例会,输入间隔天数,天数在整数5以内;在所选时间范围内根据重复模式,开展会议。

- 1.4 查询特定会议
可以根据会议主题、会议方式、会议状态、会议类型和时间范围,查询符合条件的会议。
- 1.5 查看会议详情
点击会议主题或详情,可以查看会议的详细信息。

8.2 会议审批
根据实际请客,对申请的会议进行审批,确认通过或不通过。

- 2.1 列表显示信息
按照会议室分类,列表区域显示序号、会议主题、主持人、主办部门、会议室名称、会议方式、开始时间、结束时间和状态。
- 2.2 审批会议申请
根据实际情况审批会议,点击审批,选择通过或驳回会议申请,并可填写驳回原因。

- 2.3 查询特定会议
可以根据会议主题、会议方式、会议类型和时间范围,查询符合条件的会议。
- 2.4查看会议详情
点击会议主题或详情按钮,可以查看会议的详细信息。
8.3 会议日历
用于查看所有会议,防止会议冲突,并可进行会议申请,会议日历界面。

- 3.1 页面显示信息
页面支持按月、周、日不同时间段查看会议日历,会议日历显示所有的待审核、已通过和已结束会议,包括会议时间、会议地点和会议标题。

- 3.2 查询特定日历
可根据会议室名称、会议状态和会议时间查询符合条件的会议。
- 3.3 新建普通会议
在会议日历上,点击未来的某个时间段,可以创建普通会议,通过填写会议主题、会议内容和联系方式,选择会议类型、主持人、主办部门、联系人、会议室名称、参会人员、会议纪要员、资源准备、时间范围和提醒时间,上传相关附件,完成创建普通会议,点击暂存,存为草稿状态;点击提交,发出申请。
在会议进行前根据设置的提醒时间,提醒参会人员参与会议,可多次提醒;在会议结束后后,提醒会议纪要员上传会议纪要。

- 3.4 查看会议详情
在会议日历上,点击某个会议,可以查看该会议的详细信息。
8.4 我的创建
用于显示我创建的所有会议,并可查看详细信息。

- 4.1 列表显示信息
列表区域显示我创建的所有会议的基本信息,包括序号、会议主题、主持人、主办部门、会议室名称、会议方式、开始时间、结束时间和状态。
- 4.2 查询特定会议
可以根据会议主题、会议方式、会议类型和时间范围,查询符合条件 的会议。
- 4.3 查看会议详情
点击会议主题或详情按钮,查看会议的详细信息。

8.5 我的参加
显示我参加的所有会议,并可在会议结束后上传会议纪要。

- 5.1 列表显示信息
根据会议室分类,列表区域显示我参加的所有会议的基本信息,包括序号、会议主题、主持人、主办部门、会议室名称、会议方式、开始时间、结束时间和状态。
- 5.2 上传会议纪要
被指定为会议纪要员的用户,需要在会议结束后上传会议纪要,通过点击上传,选择文件之后点击提交,完成上传。

- 5.3 查询特定会议
可以根据会议主题、会议方式、会议类型和时间范围,查询符合条件的会议。
- 5.4 查看会议详情
点击会议主题或详情按钮,可以查看会议的详细信息。
8.6 会议室管理
管理和维护会议室的基本信息。

- 6.1列表显示信息
列表显示所有会议室的基本信息,包括序号、会议室名称、负责人、可容纳人数和会议室状态。
- 6.2 新增会议室信息
点击新增,可以新增会议室信息,通过填写会议室名称、可容纳人数和描述,选择负责人、设备和会议室状态,完成新增。

- 6.3 修改会议室信息
点击编辑,可以修改会议室的详细信息,包括会议室名称、可容纳人数、描述、负责人、设备和会议室状态。
- 6.4 删除会议室信息
点击删除,可以删除选中的会议室信息。
- 6.5 查看会议室详情
点击详情,可以查看会议室的详细信息。

- 6.6 查询特定会议室
根据会议室名称、负责人和会议室状态,查询符合条件的会议室。
9. 集团例会管理
9.1 工作计划
各部门负责人在月初填写本月的计 划。

- 1.1 新增工作计划
点击“添加事项”按钮,填写事项详情,包括计划内容、是否为重点工作、计划开始和计划完成时间,并选择相应状态。填写完成后,点击“保存”按钮,即可将该事项保存为一条数据,并自动同步至工作进展列表;点击“取消”按钮,取消新增该条数据。
如需修改已有的工作计划,点击“编辑”按钮进行修改。编辑完成后,点击“保存”按钮以更新数据,同时工作进展列表中的对应数据也会同步更新。
若需删除已有的工作计划,点击“删除”按钮即可执行删除操作。

- 1.2 提交工作计划
在左侧选择一条或多条工作计划后,点击“提交”按钮,并指定汇报日期,将选中的数据提交至月会议中,以便在召开月会议时进行展示。

- 1.3 导出工作计划
点击“导出”按钮,选择所需的导出数据和字段,将工作计划导出为Excel文件。
- 1.4 查询工作计划
支持根据部门,计划所属日期,工作事项和已提交状态进行查询。
9.2 工作进展
各部门需根据工作计划填写工作进 展情况,同时可补充本周的临时工作任务。

- 2.1 添加工作进展
① 针对工作计划添加工作进展
选择某条工作计划,点击“添加进展”,填写工作事项,是否OKR,计划开始,计划完成和状态,点击“保存”,存为一条新数据,点击“取消”,取消增加该条数据。

② 添加临时事项
点击下方“添加进展”,填写事项名称,工作事项,是否OKR,计划开始,计划完成和状态,点击“保存”,存为一条新数据,点击“取消”,取消增加该条数据。

- 2.2添加意见建议
进入“意见建议”标签页,点击“添加建议”按钮,填写建议内容,完成后点击“保存”按钮,将建议保存为新数据;如需取消添加该条新数据,可点击“删除”按钮。
对于已有的建议,点击“删除”按钮即可将其移除。
意见建议将展示在“意见建议”模块,以便进行后续的投票、过滤等操作。

- 2.3 提交经营会
选择一条或多条工作进展记录后,点击“提交经营会”按钮。在选择汇报日期后,在“经营会”模块中筛选该日期即可显示相关内容。

- 2.4 提交月会
选择一条或多条工作进展记录后,点击“提交月会”按钮。在选择汇报日期后,在“月会议”模块中筛选该日期即可显示相关内容。

- 2.5 查看历史进展
点击“历史进展”按钮,即可查看该事项的所有历史进展信息。

- 2.6 查询工作进展
支持根据部门,计划所属日期,工作事项,已提交和状态进行查询。
9.3 经营会
在每周召开的经营会议上进行展示,并支持添加督办事项。
- 3.1 列表区域展示i
列表区域分为三个模块:督办事项,重点协调和意见建议。
督办事项来源于该页面新增的内容,为每次会中或会后增加的领导分派的任务;重点协调为各部门提交至经营会的工作进展内容;意见建议为过滤后各部门提交的建议内容。

- 3.2 添加督办事项
点击“督办事项”标签页,选择“添加”按钮。在弹出的界面中,依次进行以下操作:选择负责部门,填写事项, 工作进展,状态,计划开始和完成时间。填写完毕后,点击“保存”按钮,即可将该条督办事项保存至系统中;如需取消此次操作,则点击“取消”按钮,放弃新增该条数据。
点击“编辑”,可修改现有的督办事项,点击“保存”按钮,即更新该条督办事项;如需取消此次操作,则点击“取消”按钮,放弃新增该条数据。

- 3.3 编辑意见建议
点击“意见建议”标签页,可对该页面中的字段进行修改,点击“保存”按钮,即更新该条建议。

- 3.4 查询内容
支持根据部门和会议时间进行查询相对于内容。
9.4 意见建议
汇总各部门的意见建议后,此模块将进行投票过滤,并将最终结果展示在经营会议上。
- 4.1 列表展示
列表展示各部门提交的意见建议,包括提出人,提出部门,问题建议,提交日期,投票,投票汇总,是否过滤,责任部门和建议回复。

- 4.2 投票
各部门负责人规定时间内可以在此模块对所有部门提交的意见建议进行点赞投票。根据投票数量和实际情况,将部分意见建议提 交至经营会。

- 4.3 过滤
例会主持人根据投票和实际情况,对建议进行过滤,点击过滤后的意见建议会在经营会模块显示。

- 4.4 提交
支持修改责任部门并提添加建议回复,完成后,点击提交,上传系统。

- 4.5 查询
支持根据部门和会议时间进行查询。
9.5 月会议
用于展示每月计划,数据来源于工作计划和工作进展提交。
- 5.1 列表展示
列表按照月展示每个月各部门提交到月会的工作内容,包括部门,事项,计划内容,工作进展,计划开始,计划完成和实际完成时间。

- 5.2 查询月计划
支持根据部门和会议日期进行查询。
9.6 看板
编辑日志,所有操作都会保存在这。支持根据部门,计划所属,状态,类型 和重点工作进行查询。

10. 工作签
展示个人添加的所有工作签,并进行管理和维护。

- 1 列表展示内容
工作签列表展示所有个人添加的工作签信息。列表字段包括序号、标题、内容、状态、颜色、提醒时间、创建时间、操作。
- 2 新增工作签
点击新增按钮,出现新增工作签弹窗,在弹窗中填写工作签对应表单内容,填写完成后点击确定,即可新增成功。新增成功后,在用户填写的提醒时间,用户会收到系统内消息提醒和企业微信提醒。

- 3 编辑工作签
点击工作签列表后的编辑按钮,可以对当前工作签内容进行修改,修改完成后点击确定,即可修改成功。如果对提醒时间进行修改,则会在修改后的提醒时间进行消息提醒。
- 4 完成工作签
未完成状态的工作签列表后会有完成按钮,当工作完成后点击完成按钮,出现二次确认弹窗,在弹窗中确认后即可完成该操作。
- 5 删除工作签
工作签列表后有删除按钮,点击删除按钮且进行二次确认后即可删除该项工 作签
10.6 查找工作签
可以根据标题、状态、提醒日期、创建日期查询工作签内容。
11. 规章制度
对公司的规章制度进行分类管理。
- 1 列表显示内容
列表左侧显示文档类型树形结果,右侧根据左侧选择的文档类型,显示该类型下的所有规则制度。

- 2 新增规则制度
点击“新增”,填写表单信息,包括文档名称,展示名称,版本,文档类型,公司名称,发布日期,备注,是否可见等,完成新增。
点击“修改”,可修改现有规则制度。
点击“删除”,可删除现有规则制度。

- 3 下载制度
点击“下载”,可下载新增制度时上传的附件。

- 4 发布新版
点击“发布新版”,填写新版本的表单信息,并上传附件,将会覆盖老版本制度,可在详情查看老版本。

- 5 查看制度详情
点击“详情”,可查看规则制度的 详细信息,包括现在版本以及老版本。

- 6 查询规则制度
支持根据文档类型,文档名称,发布日期和是否可见进行查询。
12. 印章申请
展示所有印章申请列表。

- 1 列表区域内容
列表区域展示个人发起的印章申请。列表字段包括序号、申请人、申请日期、申请部门、申请编码、申请主体、相关业务、所属公司名称、状态、操作。
- 2 新增印章申请
点击新增按钮,可以发起一个印章申请。在申请页面填写表单内容后,点击提交即可发起印章申请。点击暂存生成一个申请草稿,可以对草稿内容进行编辑删除操作。

- 3 查看印章申请
点击详情按钮,可以查看印章申请详情内容。
- 4 删除印章申请
等待提交的申请,可以进行删除操作。点击删除按钮,在二次确认弹窗中确认后即可删除成功。
- 5 查找印章申请
可以根据申请主题、所属公司名称、使用场景查询筛选项对应列表内容。
- 6 导出印章申请
点 击导出按钮,可以自定义表格内容,勾选完成后点击导出按钮,即可导出表格数据到本地中。

13.办公用品
13.1 办公用品申请
展示所有的办公用品申请列表。

- 1.1 列表区域内容
列表区域展示已发起的办公用品申请。列表内容包括序号、创建用户、创建时间、申请年份、申请季度、描述、状态、操作。
- 1.2 新增办公用品申请
点击新增按钮,可以发起办公用品申请,填写完表单内容后,点击提交按钮,即可进入审批流程。点击暂存按钮,可以将表单内容暂存为草稿,可以对草稿内容进行修改删除操作。

- 1.3 查看办公用品申请
点击列表后方的详情按钮,可以查看办公用品申请的详细信息。
- 1.4 查找办公用品申请
可以根据申请年份和申请季度查询筛选性对应列表内容。
13.2 办公用品申请明细
以办公用品为纬度展示,一类办公用品一个部门为一条数据。
- 2.1 列表展示
列表区域显示所有办公用品申请明细,以办公用品为纬度展示,包括申请部门,申请人,申请信息,用品信息,数量信息,使用人信息,价格信息和状态等。

- 2.2 导出申请明细
点击“导出”,选择导出数据和导出字段,导出申请明细excel表。
- 2.3 查询申请明细
支持根据申请年份,申请季度和申请类型进行查询。
13.3 办公用品品类
展示所有办公用品品类列表,并对品类内容进行管理维护。

- 3.1 列表区域内容
列表区域显示所有办公用品品类。列表字段包括 序号、编码、名称、规格、计量单位、描述、操作。
- 3.2 新增办公用品品类
点击新增按钮,输入表单内容即可新增办公用品品类。

- 3.3 删除办公用品品类
点击列表后的删除按钮,在二次确认弹窗中再次确认后,即可删除该品类。
- 3.4 查找办公用品品类
可以根据名称和描述查询筛选框对应列表内容。
- 3.5 导出办公用品品类
点击导出按钮,可以自定义导出字段,按照勾选的内容确认导出,即可导出表格到本地中。

14.行政签呈
用于管理向上级或相关部门呈报行政类事项(如采购申请、费用审批、制度修订等)的申请。
- 1 列表展示内容
列表展示行政签呈申请,包括申请编码,申请人,申请日期,类型,申请标题和状态。

- 2 新增申请
点击“新增”,填写表单信息,完成行政签呈申请。行政签呈包括办公会审批,流程制度,收函确认,发函申请。日常业务,公文发文和通知类等。
对于草稿状态的申请,可进行编辑,删除和提交操作;
对于审批中的申请,可进行催办和撤回操作。

- 3 查看详情
点击“详情‘,可查看申请的详细信 息,包括申请内容,审批记录和审批流程。

- 4 查询申请
支持根据申请时间,关键字,类型,申请标题,申请编码和申请人进行查询。
15.预定酒店名录
用于预定酒店。

- 1新增预定
点击“新增”,填写酒店名称,联系人和描述,选择酒店地址,完成新增,支持修改和删除现有酒店预定信息。

- 2 查看详情
点击“详情”,查看酒店详细信息。

- 3 导出酒店信息
点击“导出”,选择导出字段和导出字段,导出酒店信息生成excel表。
- 4 查询酒店信息
支持根据酒店名称进行查询。
16.米健固定资产档案
用于管 理米健的固定资产。
- 1 列表显示内容
列表内容显示了所有固定资产信息,包括名称,规格,库存数量,单价,排序和有效标志。

- 2 新增资产档案
点击“新增”,填写表单信息,完成新增。
点击“编辑”,可编辑现有资产档案;
点击“删除”,可删除现有资产档案。

- 3 查看资产详情
点击“详情”,查看资产的详细信息。

- 4 导出资产信息
点击导出,选择导出数据和导出字段,批量导出资产信息生成excel。
- 5 查询资产信息
支持根据名称和规格进行查询。